冷钱包还是交易所?你的币到底该放在哪里才安全?
在加密货币世界中,"不是你的钥匙,就不是你的币"(Not your keys, not your coins)这句名言广为流传。但对于普通用户来说,数字资产到底应该放在冷钱包还是交易所?这是一个关乎资金安全的核心问题。本文将通过详细对比分析,帮助你做出明智选择。

一、核心概念解析
什么是冷钱包?
冷钱包(Cold Wallet)是指离线存储私钥的硬件设备或纸钱包,与互联网完全隔离,币安app有自己的冷钱包

什么是交易所热钱包?
交易所钱包(如币安)是在线托管钱包,私钥由平台保管,用户通过账户密码访问资产,适合频繁交易。
二、安全对比:冷钱包 vs 交易所

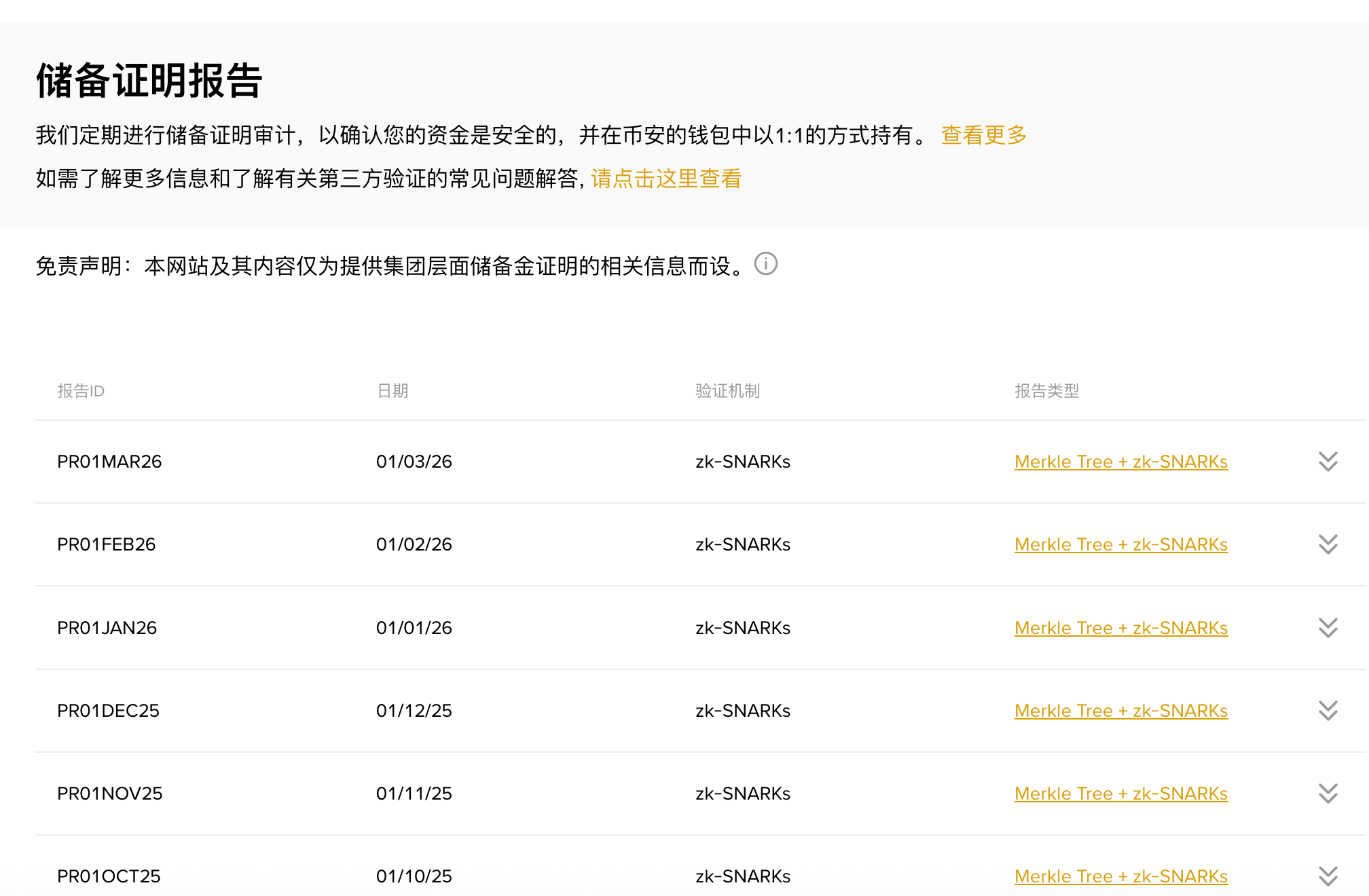
三、币安交易所安全功能详解
1️⃣ 账户安全中心
币安提供多层安全防护,用户可在安全中心查看并启用各项保护:

核心安全功能:
- 谷歌验证器(2FA):每次登录/提币需输入动态验证码
- 反钓鱼码:官方邮件会包含专属验证码,识别假冒邮件
- 设备管理:可查看并删除陌生登录设备
- 提币白名单:仅允许向预设地址提币,防止被盗
2️⃣ 资金保护机制

币安安全储备:
- SAFU基金:10亿美元紧急保险基金,用于极端情况赔付
- 冷存储比例:95%以上用户资产存于离线冷钱包
- 多重签名:大额提币需多管理员授权
3️⃣ 提币安全验证流程

提币安全步骤:
- 输入提币地址和金额
- 邮箱验证码确认
- 短信验证码确认
- 谷歌验证器动态码确认
- 人工审核(大额提币)
四、冷钱包安全使用指南
冷钱包优势场景

冷钱包使用注意事项
冷钱包初始化时需记录助记词,切勿截图或联网存储
关键安全原则:
- 助记词离线保存:手写在纸上,存放在保险柜,切勿拍照/截图/存云端
- 购买渠道正规:仅从官网购买,避免二手设备被篡改
- 固件及时更新:定期检查并更新设备固件
- 测试小额转账:首次使用前先转小额测试,确认无误再转大额
五、最佳实践:混合存储策略
对于大多数用户,单一存储方式并非最优解。推荐采用以下混合策略:
资产配置建议

建议的资产分配比例,平衡安全与便捷
六、常见安全风险及应对
交易所风险

冷钱包风险

七、决策树:你应该选择哪种存储方式?
文本编辑
资产价值 > $10,000?→ 冷钱包(至少50%)
交易频率 > 每周3次? → 交易所(大部分)
持有时间 > 1年? → 冷钱包
技术能力如何?
熟练 → 冷钱包
新手 → 交易所(先学习)
八、总结:安全存储的核心原则
五大黄金法则
- 分散风险:不要把所有资产放在一个地方
- 多重验证:启用所有可用的安全功能(2FA、白名单等)
- 定期审查:每月检查账户安全设置和登录记录
- 警惕钓鱼:不点击陌生链接,核实官方域名
- 持续学习:关注安全动态,更新防护知识
最终建议

重要风险提示
- 加密货币投资存在高风险,价格波动剧烈,可能导致本金全部损失
- 任何存储方式都不是100%安全,需根据自身情况权衡
- 遵守当地法律法规,确保交易和存储行为合规
- 本文章仅供参考,不构成投资建议,请自行研究判断
安全存储检查清单
在结束前,请确认你已完成以下安全措施:
- 启用谷歌验证器(2FA)
- 设置反钓鱼码
- 配置提币白名单
- 备份助记词(冷钱包用户)
- 定期检查登录设备
- 不向任何人透露私钥/密码
- 使用独立邮箱注册交易账户
- 大额资产分散存储
记住:在加密货币世界,安全永远是第一位的。宁可多花一分钟确认,也不要因疏忽损失全部资产!
币安(Binance)2026年最新注册开户指南
第一步:准备工作
- 确保IP节点已切换至中国台湾
- 准备Gmail或Outlook邮箱
- 准备有效身份证件(身份证、驾照或护照)
- 确保网络环境稳定
第二步:访问币安官网注册入口进行注册
1、打开浏览器,输入币安官方网址:www.binance.com
2、点击页面右上角的「注册」按钮。

3、输入准备好的邮箱地址或手机号码,点击「继续」按钮

第三步:验证码验证
此时币安会向您的邮箱发送验证码。请及时查看邮箱,包括垃圾邮件文件夹。收到验证码后,将其输入到注册页面的相应位置。

第四步:设置账户密码
为币安账户创建一个强密码。建议密码包含大小写字母、数字和特殊字符,长度至少8位,确保账户安全。

第五步:填写邀请码
当系统询问是否有邀请人时,选择「有」,并填写邀请码:A0Y8K980。使用邀请码可以获得交易手续费优惠,这是一个不容错过的福利。

注册完成后,需要进行KYC(Know Your Customer)身份认证才能正常使用币安的交易功能。
1、认证准备
下载币安官方APP(官方注册 官方下载)并登录账户,系统会自动跳转到身份认证页面。在「居住国家或地区」和「证件签发国家地区」都选择中国大陆,确保信息一致性。


2、证件选择与上传
1、选择认证证件类型:身份证、驾照或护照都可以。
2、按照系统提示拍摄或上传证件正反面照片。

3、确保照片清晰,四角完整,无反光。

3、人脸识别验证
完成证件上传后,需要进行人脸识别验证。确保光线充足,面部清晰可见,按照系统提示完成动作验证。

4、个人信息确认
最后确认个人信息,包括国籍、姓名、出生日期等。并如实填写当前工作状态。提交后等待审核通过即可。

以上就是冷钱包还是交易所?你的币到底该放在哪里才安全?的详细内容,更多关于冷钱包与交易所对比分析的资料请关注脚本之家其它相关文章!
本站提醒:投资有风险,入市须谨慎,本内容不作为投资理财建议。